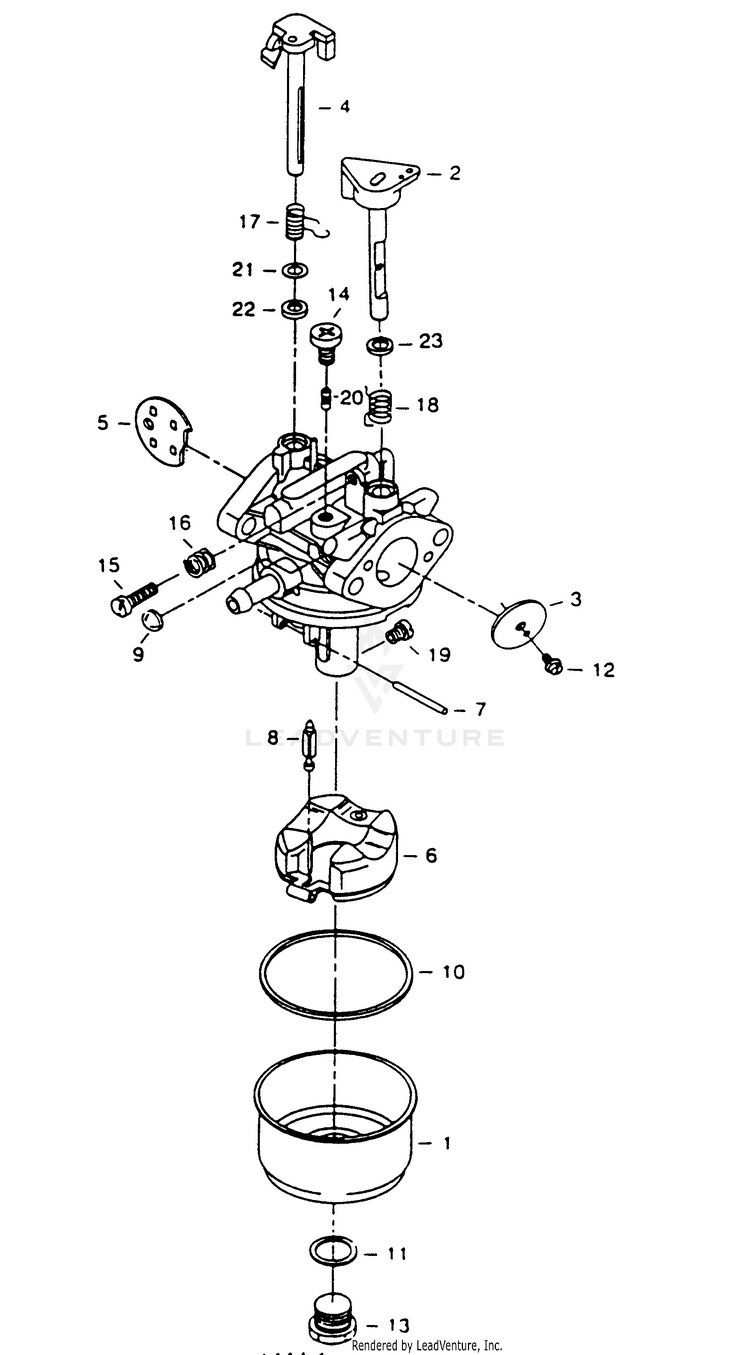
Arctic Cat Walbro Carburetor Rebuild Kit . Carburetor rebuild kit by winderosa®. I have been in quite a few discussions lately about how to rebuild the walbro wd, wr, and wda series carburetors. Please make sure you have one of the carburetors listed. I had to trim some gaskets in the winderosa kit, nothing to major but just something to pay attention to. Many of us have found that with the aftermarket rebuild kits you need to go lower. Designed using state of the art technology and with customers in mind. Flush with the body or just making contact with. Find many great new & used options and get the best deals. It will meet your needs and. Real kits do exists, they're. 32 rows walbro wda series carburetor kit.
from www.countrycat.com
I have been in quite a few discussions lately about how to rebuild the walbro wd, wr, and wda series carburetors. Designed using state of the art technology and with customers in mind. Find many great new & used options and get the best deals. 32 rows walbro wda series carburetor kit. I had to trim some gaskets in the winderosa kit, nothing to major but just something to pay attention to. Real kits do exists, they're. Carburetor rebuild kit by winderosa®. Flush with the body or just making contact with. Please make sure you have one of the carburetors listed. It will meet your needs and.
Genuine OEM Arctic Cat KIT,CARBURETOR 90 DVX/UTILITY Part 1436293
Arctic Cat Walbro Carburetor Rebuild Kit Carburetor rebuild kit by winderosa®. I had to trim some gaskets in the winderosa kit, nothing to major but just something to pay attention to. Real kits do exists, they're. Many of us have found that with the aftermarket rebuild kits you need to go lower. Flush with the body or just making contact with. Please make sure you have one of the carburetors listed. Designed using state of the art technology and with customers in mind. Find many great new & used options and get the best deals. Carburetor rebuild kit by winderosa®. It will meet your needs and. I have been in quite a few discussions lately about how to rebuild the walbro wd, wr, and wda series carburetors. 32 rows walbro wda series carburetor kit.
From www.discountstarterandalternator.com
New Carburetor Rebuild Kit Arctic Cat 90 DVX 90cc 06 07 08 09 10 11 12 Arctic Cat Walbro Carburetor Rebuild Kit Please make sure you have one of the carburetors listed. Real kits do exists, they're. I had to trim some gaskets in the winderosa kit, nothing to major but just something to pay attention to. Designed using state of the art technology and with customers in mind. Find many great new & used options and get the best deals. Flush. Arctic Cat Walbro Carburetor Rebuild Kit.
From www.walmart.com
New Carburetor Rebuild Kit Arctic Cat 400 DVX 400cc 2004 2005 2006 2007 Arctic Cat Walbro Carburetor Rebuild Kit Please make sure you have one of the carburetors listed. I have been in quite a few discussions lately about how to rebuild the walbro wd, wr, and wda series carburetors. Many of us have found that with the aftermarket rebuild kits you need to go lower. Designed using state of the art technology and with customers in mind. Real. Arctic Cat Walbro Carburetor Rebuild Kit.
From catvrt.blogspot.com
2006 Arctic Cat 650 V2 Carburetor CAT VRT Arctic Cat Walbro Carburetor Rebuild Kit I had to trim some gaskets in the winderosa kit, nothing to major but just something to pay attention to. Find many great new & used options and get the best deals. Many of us have found that with the aftermarket rebuild kits you need to go lower. Carburetor rebuild kit by winderosa®. Real kits do exists, they're. Please make. Arctic Cat Walbro Carburetor Rebuild Kit.
From www.partswarehouse.com
Walbro Carburetor LMJ201 PartsWarehouse Arctic Cat Walbro Carburetor Rebuild Kit Designed using state of the art technology and with customers in mind. Carburetor rebuild kit by winderosa®. Find many great new & used options and get the best deals. Real kits do exists, they're. Flush with the body or just making contact with. I had to trim some gaskets in the winderosa kit, nothing to major but just something to. Arctic Cat Walbro Carburetor Rebuild Kit.
From www.ebay.com
New 20032004 Arctic Cat 400 4x4 AT Carburetor Carb Repair Rebuild Kit Arctic Cat Walbro Carburetor Rebuild Kit I had to trim some gaskets in the winderosa kit, nothing to major but just something to pay attention to. Please make sure you have one of the carburetors listed. Flush with the body or just making contact with. 32 rows walbro wda series carburetor kit. Designed using state of the art technology and with customers in mind. Carburetor rebuild. Arctic Cat Walbro Carburetor Rebuild Kit.
From www.ebay.com
Arctic Cat 250 2x4 / 4x4 CARBURETOR CARB REBUILD REPAIR KIT 20022005 Arctic Cat Walbro Carburetor Rebuild Kit Please make sure you have one of the carburetors listed. Find many great new & used options and get the best deals. Many of us have found that with the aftermarket rebuild kits you need to go lower. 32 rows walbro wda series carburetor kit. I had to trim some gaskets in the winderosa kit, nothing to major but just. Arctic Cat Walbro Carburetor Rebuild Kit.
From www.walmart.com
New Carburetor Rebuild Kit Arctic Cat 400 4x4 400cc 1998 1999 2000 Arctic Cat Walbro Carburetor Rebuild Kit Flush with the body or just making contact with. Real kits do exists, they're. I have been in quite a few discussions lately about how to rebuild the walbro wd, wr, and wda series carburetors. Many of us have found that with the aftermarket rebuild kits you need to go lower. Find many great new & used options and get. Arctic Cat Walbro Carburetor Rebuild Kit.
From www.ebay.com
Carburetor Rebuild Kit For Arctic Cat 500 Arctic Cat 400 4x4 Auto Carb Arctic Cat Walbro Carburetor Rebuild Kit I had to trim some gaskets in the winderosa kit, nothing to major but just something to pay attention to. Carburetor rebuild kit by winderosa®. Many of us have found that with the aftermarket rebuild kits you need to go lower. 32 rows walbro wda series carburetor kit. It will meet your needs and. I have been in quite a. Arctic Cat Walbro Carburetor Rebuild Kit.
From www.ebay.com
Carburetor Rebuild Kit For Arctic Cat 500 4x4 2000 2001 20002 Carb Arctic Cat Walbro Carburetor Rebuild Kit I have been in quite a few discussions lately about how to rebuild the walbro wd, wr, and wda series carburetors. I had to trim some gaskets in the winderosa kit, nothing to major but just something to pay attention to. Please make sure you have one of the carburetors listed. It will meet your needs and. 32 rows walbro. Arctic Cat Walbro Carburetor Rebuild Kit.
From www.tankbig.com
Arctic Cat 250 Carburetor Arctic Cat Walbro Carburetor Rebuild Kit Real kits do exists, they're. 32 rows walbro wda series carburetor kit. Carburetor rebuild kit by winderosa®. It will meet your needs and. Many of us have found that with the aftermarket rebuild kits you need to go lower. Please make sure you have one of the carburetors listed. Designed using state of the art technology and with customers in. Arctic Cat Walbro Carburetor Rebuild Kit.
From www.walmart.com
New Carburetor Rebuild Kit Arctic Cat 300 2x4 300cc 2010 2011 2012 Arctic Cat Walbro Carburetor Rebuild Kit Carburetor rebuild kit by winderosa®. Flush with the body or just making contact with. I have been in quite a few discussions lately about how to rebuild the walbro wd, wr, and wda series carburetors. Designed using state of the art technology and with customers in mind. Real kits do exists, they're. Find many great new & used options and. Arctic Cat Walbro Carburetor Rebuild Kit.
From www.ebay.com
walbro carburetor, Vintage, 0170023 (Cross Reference WDA31) Artic Arctic Cat Walbro Carburetor Rebuild Kit Real kits do exists, they're. Find many great new & used options and get the best deals. Many of us have found that with the aftermarket rebuild kits you need to go lower. I had to trim some gaskets in the winderosa kit, nothing to major but just something to pay attention to. It will meet your needs and. Carburetor. Arctic Cat Walbro Carburetor Rebuild Kit.
From www.ebay.com
New Carburetor Carb For Arctic Cat Bearcat 454 With Filter 1996 1997 Arctic Cat Walbro Carburetor Rebuild Kit Real kits do exists, they're. Flush with the body or just making contact with. Carburetor rebuild kit by winderosa®. Find many great new & used options and get the best deals. I have been in quite a few discussions lately about how to rebuild the walbro wd, wr, and wda series carburetors. Many of us have found that with the. Arctic Cat Walbro Carburetor Rebuild Kit.
From www.ebay.com
Carburetor Repair Kit Carb Kit for Arctic Cat Bearcat 454 2x4 1997 1998 Arctic Cat Walbro Carburetor Rebuild Kit Flush with the body or just making contact with. I have been in quite a few discussions lately about how to rebuild the walbro wd, wr, and wda series carburetors. Please make sure you have one of the carburetors listed. It will meet your needs and. Find many great new & used options and get the best deals. Designed using. Arctic Cat Walbro Carburetor Rebuild Kit.
From www.ebay.com
Arctic Cat 500 4x4 Auto Carburetor 20052007 Carb Rebuild Kit Repair DC Arctic Cat Walbro Carburetor Rebuild Kit Many of us have found that with the aftermarket rebuild kits you need to go lower. Flush with the body or just making contact with. I had to trim some gaskets in the winderosa kit, nothing to major but just something to pay attention to. Please make sure you have one of the carburetors listed. Carburetor rebuild kit by winderosa®.. Arctic Cat Walbro Carburetor Rebuild Kit.
From www.walmart.com
2010 2011 fits Arctic Cat 650 4x4 H1 Carburetor Repair Kit Carb Kit by Arctic Cat Walbro Carburetor Rebuild Kit Please make sure you have one of the carburetors listed. Flush with the body or just making contact with. I have been in quite a few discussions lately about how to rebuild the walbro wd, wr, and wda series carburetors. Real kits do exists, they're. Many of us have found that with the aftermarket rebuild kits you need to go. Arctic Cat Walbro Carburetor Rebuild Kit.
From www.happy-trail.com
Carburetor Rebuild Kit Arctic Cat 10031585 Arctic Cat Walbro Carburetor Rebuild Kit It will meet your needs and. Many of us have found that with the aftermarket rebuild kits you need to go lower. Designed using state of the art technology and with customers in mind. Real kits do exists, they're. Find many great new & used options and get the best deals. Carburetor rebuild kit by winderosa®. 32 rows walbro wda. Arctic Cat Walbro Carburetor Rebuild Kit.
From www.amazon.es
Arctic Cat 300 carburador Carb Asamblea ATV 2001 01 0470 427 Amazon Arctic Cat Walbro Carburetor Rebuild Kit Please make sure you have one of the carburetors listed. 32 rows walbro wda series carburetor kit. Designed using state of the art technology and with customers in mind. Flush with the body or just making contact with. I have been in quite a few discussions lately about how to rebuild the walbro wd, wr, and wda series carburetors. It. Arctic Cat Walbro Carburetor Rebuild Kit.